2021-04-07 13:30:33
浏览 2920
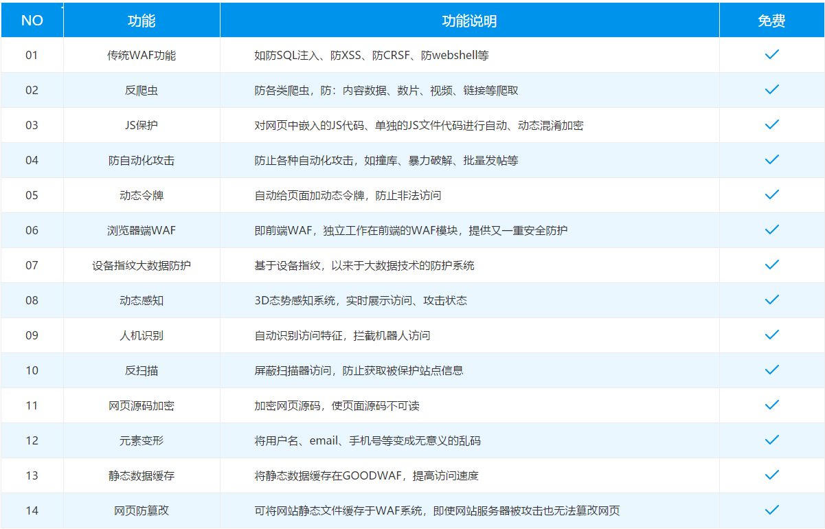
之前也是给大家说过国内的一家安全厂商开发的免费web应用防火墙产品goodwaf。之前介绍过这款产品的功能,此产品是基于云上开发的,不需要用户复杂的本地部署并且需要一定的硬件设备。这款云上的web应用防火墙只需要用户注册账号——添加域名——解析域名——配置相关防护功能,短短几个步骤就能实现网站的安全防护。

其主要的功能有防sql、xss、篡改、木马、薅羊毛、盗链、暗链、自动化攻击、暴力破解、撞库等多种功能,有效实现对于网站及相关系统的安全防护。
这一次主要是利用一个测试网站,给大家看一下防护结果,在goodwaf中有两个能够看防护效果的地方,一个是用户自己的后台在日志部分可以看到相关攻击拦截状态。

一个是在态势感知部分可以看到更完善的攻击状态,甚至是被攻击的页面,攻击地区,攻击方式都能显而易见的发现。

在这两个安全监测部分都能清晰的看到网站被攻击状态,攻击方式,攻击页面等信息,并且支持日志导出,有利于用户能够及时分析网站目前情况,采取加固措施。
销售
成为合作伙伴 联系销售: 13486113273155457792121348611049213845109681入门
免费版 付费版 白皮书社区
小红书开发人员
技术资源 Goodwaf Workers AI算法系统支持
支持 Goodwaf 状态 合规性公司
关于Goodwaf 我们的团队 新闻